Parker Gun Collectors Association Forums  

Go Back   Parker Gun Collectors Association Forums Parker Forums General Parker Discussions

Notices

Reply
Thread Tools Display Modes
All those patent dates
Unread 01-30-2016, 07:20 PM   #1
Member
TARNATION !!!
PGCA Lifetime
Member
 
Jack Cronkhite's Avatar

Member Info
 
Join Date: Jun 2009
Posts: 1,816
Thanks: 870
Thanked 2,398 Times in 664 Posts

Default All those patent dates

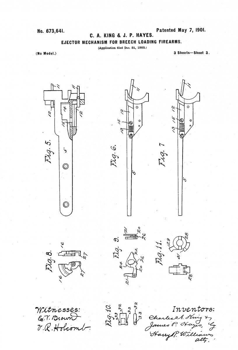
Have you ever wondered about the patent dates so permanently stamped into a variety of parts on your Parker? I didn't give them much heed but then I ran into a problem with a GHE. One ejector refuses to re-cock. I can push it into place but it refuses to hold. I'm an inveterate tinkerer, so thought I should be able to deal with this. Now I know the system is considered complicated and not probably the best idea to tackle it but then I figure it can be, if nothing else, a learning experience with the out that there are master gunsmiths who can take over where I give up, if I do.

Try finding a schematic or any kind of instructions on-line for century plus firearms and you soon become disillusioned. Turned next to TPS and on page 128, there is a rather murky diagram of the ejector system. Not much help there. Turn in desperation to the "index" and you will find a reference to patents. Check that and you find "every" patent number ever issued to our favorite Meriden company.

Now on the ejectors in question, the patent date May 7, 1901 is stamped in the fore end iron. Check TPS and find the patent number for that date is 673641. Well, not a lot of help there until you check our great friend Google and instantly you can pull up the patent issued. Several detailed pages describing the system and the three original diagrams submitted with the application. Now those are helpful in this tinkerer's quest. For your enjoyment, here are those diagrams, complete with signatures of some of the names we know. All those lines with reference numbers could have used a table but they are all found in the extensive write-up. It is a brave new world for old stuff. Cheers, Jack





__________________
Hunt ethically. Eat heartily.
Jack Cronkhite is offline   Reply With Quote
The Following 9 Users Say Thank You to Jack Cronkhite For Your Post:
Unread 01-30-2016, 07:51 PM   #2
Member
Bindlestiff
PGCA Lifetime
Member
 
Robin Lewis's Avatar

Member Info
 
Join Date: Nov 2008
Posts: 2,118
Thanks: 703
Thanked 2,948 Times in 870 Posts

Default

Jack,

If you are interested in the text of the patent you can read it all at http://pdfpiw.uspto.gov/.piw?PageNum...3DPN%2F0673641

If you want to read others, you can try this page to find them: http://patft.uspto.gov/netahtml/PTO/srchnum.htm

These are pages at the government's patent office (the second is a simple search form page), not google or worse,
some other place that might try to extract monies to get information that is free for the taking.

Just thought you might like to know about the uspto government site. I've used it and find that it sucks you in reading one then another, and another...., reading about some interesting ideas that may or may not have seen the light of day.

Robin
Robin Lewis is offline   Reply With Quote
The Following User Says Thank You to Robin Lewis For Your Post:
Unread 01-30-2016, 09:41 PM   #3
Member
GH-16
PGCA Member

Member Info
 
Join Date: Nov 2009
Posts: 1,158
Thanks: 6,413
Thanked 1,657 Times in 569 Posts

Default

Jack,

Not seeing your gun. My bet will be a problem with item #27 in figure 8 page 3

I've had this little tang shear off on one Parker and that ejector would not stayed cocked as you describe.

Let us know what you find out !
Paul Ehlers is offline   Reply With Quote
The Following 2 Users Say Thank You to Paul Ehlers For Your Post:
Unread 01-30-2016, 09:52 PM   #4
Member
Gary Laudermilch
Forum Associate

Member Info
 
Join Date: Feb 2010
Posts: 1,330
Thanks: 3,049
Thanked 2,114 Times in 677 Posts

Default

That is precisely the piece that has broken on two of my repro's. I thought somebody said somewhere that there is supposed to be a radius on that inside corner. That does not appear to be the case in the drawing.
Gary Laudermilch is offline   Reply With Quote
Unread 01-30-2016, 10:12 PM   #5
Member
Dean Romig
PGCA Invincible
Life Member
 
Dean Romig's Avatar

Member Info
 
Join Date: Dec 2008
Posts: 33,568
Thanks: 40,281
Thanked 37,175 Times in 13,536 Posts

Default

Quote:
Originally Posted by Gary Laudermilch View Post
That is precisely the piece that has broken on two of my repro's. I thought somebody said somewhere that there is supposed to be a radius on that inside corner. That does not appear to be the case in the drawing.

Yes, same on two of my Repros. There is no radius of the Repro ejector hammer cocking tab as there is on the original Parkers. Parker Bros. learned the importance of such a radius on the lifters which had a perfect 90 degree from the water table to the standing breech. Some of those cracked under the stress of concussion and that led to the easy remedy of cutting that angle with a small radius.


From the Parker Marketplace in the last issue of Parker Pages
and from an earlier forum topic -

http://parkerguns.org/forums/showthr...se+engineering

I bought one of these and the precision is incredible!...






.
__________________
"I'm a Setter man.
Not because I think they're better than the other breeds,
but because I'm a romantic - stuck on tradition - and to me, a Setter just "belongs" in the grouse picture."

George King, "That's Ruff", 2010 - a timeless classic.
Dean Romig is offline   Reply With Quote
Unread 01-30-2016, 11:36 PM   #6
Member
TARNATION !!!
PGCA Lifetime
Member
 
Jack Cronkhite's Avatar

Member Info
 
Join Date: Jun 2009
Posts: 1,816
Thanks: 870
Thanked 2,398 Times in 664 Posts

Default

Has anybody here serviced the ejectors themselves? I would like to hear from you.
__________________
Hunt ethically. Eat heartily.
Jack Cronkhite is offline   Reply With Quote
Unread 01-30-2016, 11:43 PM   #7
Member
Dean Romig
PGCA Invincible
Life Member
 
Dean Romig's Avatar

Member Info
 
Join Date: Dec 2008
Posts: 33,568
Thanks: 40,281
Thanked 37,175 Times in 13,536 Posts

Default

Jack, I wouldn't recommend it to anyone else but you. I'm pretty impressed by the pains you took to methodically and carefully disassembled that rusted up project Parker and detailed the process with pictures and descriptions for all of us to learn from.

I've heard it is pretty tricky and getting them timed properly will tax your patience and skills.





.
__________________
"I'm a Setter man.
Not because I think they're better than the other breeds,
but because I'm a romantic - stuck on tradition - and to me, a Setter just "belongs" in the grouse picture."

George King, "That's Ruff", 2010 - a timeless classic.
Dean Romig is offline   Reply With Quote
Unread 01-31-2016, 03:20 AM   #8
Member
Mike Franzen
PGCA Lifetime
Member
 
Mike Franzen's Avatar

Member Info
 
Join Date: Dec 2008
Posts: 3,011
Thanks: 1,381
Thanked 4,695 Times in 1,421 Posts

Default

Those patent drawings would look nice printed out and framed for hanging in the gun cave. Jack I like your fallback position of sending the parts to the Master Gunsmith if you can't figure it out. This will be a good thread to follow.
Mike Franzen is offline   Reply With Quote
The Following User Says Thank You to Mike Franzen For Your Post:
Visit Mike Franzen's homepage!
Unread 01-31-2016, 07:52 AM   #9
Member
TARNATION !!!
PGCA Lifetime
Member
 
Jack Cronkhite's Avatar

Member Info
 
Join Date: Jun 2009
Posts: 1,816
Thanks: 870
Thanked 2,398 Times in 664 Posts

Default

I won't be jumping into disassembly until I have some information on correct disassembly. Biggest concern to me is springs, especially fairly heavy duty ones. I wear eye protection to mitigate risk but proper sequence is very important. I do have a call in to a master to lend a guiding hand across cyber-space.

Robin and Dean: I'm wondering if we might enhance our site by adding a tab on the home page for Parker Patents with external links to each Parker gun related patent held at the US Patent and Trademark Office. I did try to navigate that site and found I had a heck of time to find anything. Having the actual patent number from TPS works fine but a blind search for ejector systems got me nowhere. Didn't know enough about their terminology I think. It would be a bit of a project but I think it would be a great enhancement to our site. The diagrams are most useful and the suggestion for print/frame/hang in the man cave seems a good use too.

Cheers, Jack
__________________
Hunt ethically. Eat heartily.
Jack Cronkhite is offline   Reply With Quote
Unread 01-31-2016, 08:38 AM   #10
Member
Dean Romig
PGCA Invincible
Life Member
 
Dean Romig's Avatar

Member Info
 
Join Date: Dec 2008
Posts: 33,568
Thanks: 40,281
Thanked 37,175 Times in 13,536 Posts

Default

Jack - that's not my bailiwick but it certainly would be a nice resource.
Learning all you can about the ejector system before you delve into it is true to your MO...
I knew you'd take that route.






.
__________________
"I'm a Setter man.
Not because I think they're better than the other breeds,
but because I'm a romantic - stuck on tradition - and to me, a Setter just "belongs" in the grouse picture."

George King, "That's Ruff", 2010 - a timeless classic.
Dean Romig is offline   Reply With Quote
Reply

Thread Tools
Display Modes

Posting Rules
You may not post new threads
You may not post replies
You may not post attachments
You may not edit your posts

BB code is On
Smilies are On
[IMG] code is On
HTML code is Off

Forum Jump


All times are GMT -4. The time now is 08:45 AM.

Powered by vBulletin® Version 3.8.4
Copyright ©2000 - 2026, Jelsoft Enterprises Ltd.
Copyright © 1998 - 2026, Parkerguns.org
Copyright © 2004 Design par Megatekno
- 2008 style update 3.7 avec l'autorisation de son auteur par Stradfred.